Exterior Trim - Hood for 1993 Subaru SVX
Vehicle
1993 Subaru SVX
Change Vehicle
- Bumper & Components - Front
- Bumper & Components - Rear
- Center Console
- Cluster & Switches
- Cowl
- Door & Components
- Doors
- Exterior Trim - Door
- Exterior Trim - Hood
- Exterior Trim - Pillars
- Exterior Trim - Quarter Panel
- Fender & Components
- Floor & Rails
- Front Door
- Fuel Door
- Glass - Door
- Glass - Windshield
- Glass & Hardware
- Glass & Hardware - Back
- Grille & Components
- Hinge Pillar
- Hood & Components
- Inner Structure
- Instrument Panel
- Instrument Panel Components
- Interior Trim - Door
- Interior Trim - Pillars
- Interior Trim - Quarter Panels
- Interior Trim - Rear Body
- Interior Trim - Roof
- Interior Trim - Trunk
- Labels
- Lid & Components
- Liftgate
- Lock & Hardware
- Outside Mirrors
- Quarter Panel & Components
- Quarter Window
- Radiator Support
- Rear Body
- Rear Floor & Rails
- Rocker
- Roof & Components
- Sound System
- Spoiler
- Structural Components & Rails
- Sunroof
- Tracks & Components
- Trunk
- Wiper & Washer Components
- ABS Components
- Air Bag Components
- Alternator
- Antenna & Radio
- Anti-Theft Components
- Battery
- Bulbs - Chassis
- Combination Lamps
- Cruise Control System
- Distributor
- Door
- Electrical Components
- Flashers
- Front Door
- Front Seat Belts
- Gauges
- Headlamp Components
- High Mounted Stop Lamp
- Horn
- Ignition Lock
- Ignition System
- Instruments & Gauges
- Mirrors
- Park & Signal Lamps
- Passive Restraints
- Power Seats
- Powertrain Control
- Quarter Window
- Rear Seat Belts
- Senders
- Sensors
- Side Marker Lamps
- Starter
- Sunroof
- Switches
- Switches, Solenoids & Actuators
- Tail Lamps
- Window Defroster
- Wipers
- Wiring Harness
- Bumper & Components - Front
- Bumper & Components - Rear
- Center Console
- Cluster & Switches
- Cowl
- Door & Components
- Doors
- Exterior Trim - Door
- Exterior Trim - Hood
- Exterior Trim - Pillars
- Exterior Trim - Quarter Panel
- Fender & Components
- Floor & Rails
- Front Door
- Fuel Door
- Glass - Door
- Glass - Windshield
- Glass & Hardware
- Glass & Hardware - Back
- Grille & Components
- Hinge Pillar
- Hood & Components
- Inner Structure
- Instrument Panel
- Instrument Panel Components
- Interior Trim - Door
- Interior Trim - Pillars
- Interior Trim - Quarter Panels
- Interior Trim - Rear Body
- Interior Trim - Roof
- Interior Trim - Trunk
- Labels
- Lid & Components
- Liftgate
- Lock & Hardware
- Outside Mirrors
- Quarter Panel & Components
- Quarter Window
- Radiator Support
- Rear Body
- Rear Floor & Rails
- Rocker
- Roof & Components
- Sound System
- Spoiler
- Structural Components & Rails
- Sunroof
- Tracks & Components
- Trunk
- Wiper & Washer Components
- ABS Components
- Air Bag Components
- Alternator
- Antenna & Radio
- Anti-Theft Components
- Battery
- Bulbs - Chassis
- Combination Lamps
- Cruise Control System
- Distributor
- Door
- Electrical Components
- Flashers
- Front Door
- Front Seat Belts
- Gauges
- Headlamp Components
- High Mounted Stop Lamp
- Horn
- Ignition Lock
- Ignition System
- Instruments & Gauges
- Mirrors
- Park & Signal Lamps
- Passive Restraints
- Power Seats
- Powertrain Control
- Quarter Window
- Rear Seat Belts
- Senders
- Sensors
- Side Marker Lamps
- Starter
- Sunroof
- Switches
- Switches, Solenoids & Actuators
- Tail Lamps
- Window Defroster
- Wipers
- Wiring Harness
Browse Categories
Select category
- Bumper & Components - Front
- Bumper & Components - Rear
- Center Console
- Cluster & Switches
- Cowl
- Door & Components
- Doors
- Exterior Trim - Door
- Exterior Trim - Hood
- Exterior Trim - Pillars
- Exterior Trim - Quarter Panel
- Fender & Components
- Floor & Rails
- Front Door
- Fuel Door
- Glass - Door
- Glass - Windshield
- Glass & Hardware
- Glass & Hardware - Back
- Grille & Components
- Hinge Pillar
- Hood & Components
- Inner Structure
- Instrument Panel
- Instrument Panel Components
- Interior Trim - Door
- Interior Trim - Pillars
- Interior Trim - Quarter Panels
- Interior Trim - Rear Body
- Interior Trim - Roof
- Interior Trim - Trunk
- Labels
- Lid & Components
- Liftgate
- Lock & Hardware
- Outside Mirrors
- Quarter Panel & Components
- Quarter Window
- Radiator Support
- Rear Body
- Rear Floor & Rails
- Rocker
- Roof & Components
- Sound System
- Spoiler
- Structural Components & Rails
- Sunroof
- Tracks & Components
- Trunk
- Wiper & Washer Components
- ABS Components
- Air Bag Components
- Alternator
- Antenna & Radio
- Anti-Theft Components
- Battery
- Bulbs - Chassis
- Combination Lamps
- Cruise Control System
- Distributor
- Door
- Electrical Components
- Flashers
- Front Door
- Front Seat Belts
- Gauges
- Headlamp Components
- High Mounted Stop Lamp
- Horn
- Ignition Lock
- Ignition System
- Instruments & Gauges
- Mirrors
- Park & Signal Lamps
- Passive Restraints
- Power Seats
- Powertrain Control
- Quarter Window
- Rear Seat Belts
- Senders
- Sensors
- Side Marker Lamps
- Starter
- Sunroof
- Switches
- Switches, Solenoids & Actuators
- Tail Lamps
- Window Defroster
- Wipers
- Wiring Harness
- Bumper & Components - Front
- Bumper & Components - Rear
- Center Console
- Cluster & Switches
- Cowl
- Door & Components
- Doors
- Exterior Trim - Door
- Exterior Trim - Hood
- Exterior Trim - Pillars
- Exterior Trim - Quarter Panel
- Fender & Components
- Floor & Rails
- Front Door
- Fuel Door
- Glass - Door
- Glass - Windshield
- Glass & Hardware
- Glass & Hardware - Back
- Grille & Components
- Hinge Pillar
- Hood & Components
- Inner Structure
- Instrument Panel
- Instrument Panel Components
- Interior Trim - Door
- Interior Trim - Pillars
- Interior Trim - Quarter Panels
- Interior Trim - Rear Body
- Interior Trim - Roof
- Interior Trim - Trunk
- Labels
- Lid & Components
- Liftgate
- Lock & Hardware
- Outside Mirrors
- Quarter Panel & Components
- Quarter Window
- Radiator Support
- Rear Body
- Rear Floor & Rails
- Rocker
- Roof & Components
- Sound System
- Spoiler
- Structural Components & Rails
- Sunroof
- Tracks & Components
- Trunk
- Wiper & Washer Components
- ABS Components
- Air Bag Components
- Alternator
- Antenna & Radio
- Anti-Theft Components
- Battery
- Bulbs - Chassis
- Combination Lamps
- Cruise Control System
- Distributor
- Door
- Electrical Components
- Flashers
- Front Door
- Front Seat Belts
- Gauges
- Headlamp Components
- High Mounted Stop Lamp
- Horn
- Ignition Lock
- Ignition System
- Instruments & Gauges
- Mirrors
- Park & Signal Lamps
- Passive Restraints
- Power Seats
- Powertrain Control
- Quarter Window
- Rear Seat Belts
- Senders
- Sensors
- Side Marker Lamps
- Starter
- Sunroof
- Switches
- Switches, Solenoids & Actuators
- Tail Lamps
- Window Defroster
- Wipers
- Wiring Harness
No.
Part # / Description / Price
Price
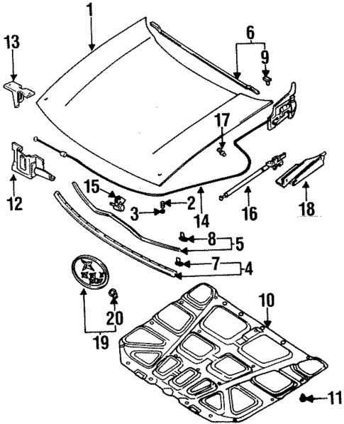
3
Hood Protector
Subaru
Subaru Description: Corner bumper. Outback, without power. 2004-07. 2002-03. Wagon, WRX & sti. Lower. With base, premium. Wagon, 2.5i & Outback.
MSRP $1.97
$1.51
MSRP $1.97
$1.51
7
Seal Strip Clip
Subaru
Subaru Notes: PARTS: Part included with seal.
Description: Grille seal.
MSRP $1.34
$0.86
MSRP $1.34
$0.86
8
Seal Clip
Subaru
Subaru Notes: PARTS: Part included with seal.
Description: 2004-07. Radiator supt seal. 2002-03.
MSRP $1.90
$1.22
MSRP $1.90
$1.22
9
17
MSRP $12.27
$9.42